首页>社情·民意>你言我语 你言我语
二手车平台隐瞒里程作假上线交易 律师称涉嫌欺诈

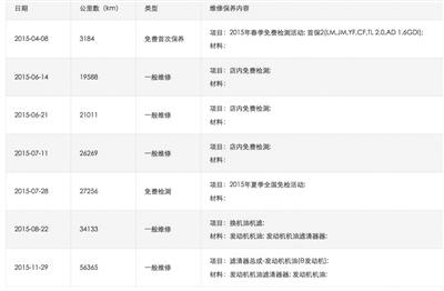
维修记录显示,被检测车辆里程数已达56365公里。
此前,其中一位检测人员表示,车辆检测包括里程表核实,“我们会查询车辆维修保养记录,来核实里程数?!钡档丶觳馐?,两人并未核验。
对于“调表车”情况,3月12日,承诺“158项检测”的优信二手车平台一名客服人员介绍,由于车辆是特殊商品,无法精准了解里程数?!案萜教ǚ窆娑ǎ锍淌辉谖颐堑谋U戏段?,(里程)表上显示多少就是多少?!?/p>
一位在4S店专门从事汽车售后服务的资深人士介绍,大部分二手车平台检测水平还停留在比较粗放的状态,如凭经验判断外观、口头询问等手段。而多数车辆的里程数,仅需通过查询车架号或者调取4S店保养记录即可核实。
编辑:梁霄
关键词:二手车 隐瞒 里程 上线 交易


中国制造助力孟加拉国首条河底隧道项目
澳大利亚猪肉产业协会官员看好进博会机遇
联合国官员说叙利亚约1170万人需要人道主义援助
伊朗外长扎里夫宣布辞职
中国南极中山站迎来建站30周年
联合国特使赴也门斡旋荷台达撤军事宜
以色列前能源部长因从事间谍活动被判11年监禁
故宫博物院建院94年来首开夜场举办“灯会”
法蒂玛·马合木提
王召明
王霞
辜胜阻
聂震宁
钱学明
孟青录
郭晋云
许进
李健
覺醒法師
吕凤鼎
贺铿
金曼
黄维义
关牧村
陈华
陈景秋
秦百兰
张自立
郭松海
李兰
房兴耀
池慧
柳斌杰
曹义孙
毛新宇
詹国枢
朱永新
张晓梅
焦加良
张连起
龙墨
王名
何水法
李延生
巩汉林
李胜素
施杰
王亚非
艾克拜尔·米吉提
姚爱兴
贾宝兰
谢卫
汤素兰
黄信阳
张其成
潘鲁生
冯丹藜
艾克拜尔·米吉提
袁熙坤
毛新宇
学诚法师
宗立成
梁凤仪
施 杰
张晓梅


